I recently published a paper in the journal Big Data and Society on. Spotify ‘s moves into health, exercise and wellness features. In this I suggested that an unacknowledged motivation for this is revealed through analysis of grey literature such as patent applications and reading of their financial strategy.
I argue that a key function of such prospective innovations is Spotify trying to tell a story to investors, and the stock market in general, about their future potential capacity to generate data on health, exercise and wellness activities and provide targeted marketing on this basis.
I looked at patents such as a proposed technology for analysing walking or running cadence to automatically generate music recommendations.

https://patents.google.com/patent/US11113346B2/en?oq=11113346
I also considered voice analysis technologies used to identify emotions and select content on this basis. I suggested that these are methods of identifying emotional states in users to determine when when they will be susceptible to particular advertising messages to help the platform to formulate the user base into “micro publics” meaningful to advertisers’ interests. This strategy has become necessary due to Spotify’s “growth over profit” strategy. This has been pushed by their inability to generate profit consistently in recent years.
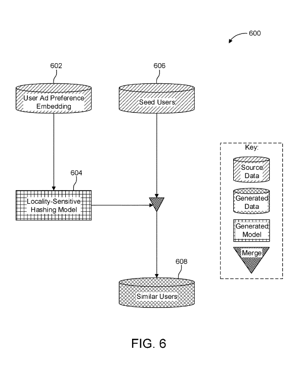
This situation necessitated building their free, advertising funded users as a source of this growth. But to generate revenue on this section of their user base more useful advertising is needed. In Silicon Valley terms this means more targeting. But Spotify has a significant problem with advertising. Despite having by far the largest users of any music streaming platform advertising is of limited value as very few users engage with ads on the app. As most people are listening to music or podcasts while walking, running, exercising, etc. To tackle this Spotify have proposed systems for positioning individual users within a datafied network based on user taste and usage patterns. Their intention is to map the ad preferences of those users who do interact with ads onto those (the majority) who do not.

https://patents.google.com/patent/US11403663B2/en?oq=11403663
Ultimately, I argue that:
“As the company comes to be structured around attracting investment, with other areas of business subordinate to this, ‘fictitious capital’ becomes ever more significant. These inherently speculative and future-oriented commodities rely on symbolic and affective resources to tell convincing stories about future value (either profits or higher share prices). Spotify has identified health, exercise and wellness activities as a key area for the production of meaning to service their investment strategy”
I have also written posts about this article on the Big Data & Society blog and the Leeds Beckett University blog.